Jegyfülke házikó - Játszóház gyerekeknek tetővel és játékpanelekkel - J221

A "Játszóházak" termékcsaládunkban létrehoztuk a referencia J221. Ez a modul 1 év-ről érhető el. Legfeljebb 7 játékos befogadására alkalmas.

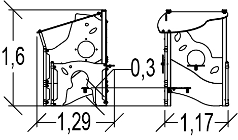
A modul méretei a következők: 1,29 m hosszú, 1,17 m széles, 1,60 m magas. A szabadesési magasság (HCL) 0,60 m.

9 szórakoztató funkció

Fantáziálás
Fantáziálás x1
Találkozás
Találkozás x1
Pihenés
Pihenés x1
Kézügyesség
Kézügyesség x1
Kúszás
Kúszás x1
Menedék
Menedék x1
Vizuális stimulálás
Vizuális stimulálás x1
Átkelés
Átkelés x1
Tapintásos stimulálás
Tapintásos stimulálás x1
Bővebben

Jellemzők

Korosztály: 1+
Játékosok száma: 7 játékos
HCL: 0,60 m
Méret: 1,29 x 1,17 x 1,60 m

Berendezések telepítése

Telepítők száma: 2
Telepítési idő: 02:50:00
Beton térfogata: 0,15 m³
Felület: 15,50 m²
Teljes súly: 98,04 kg
A legnehezebb elem súlya: 16,07 kg

Környezeti mutatók

Javíthatóság

Javíthatóság

9,49 /10

Tanúsítás

Az alapkínálatunkban szereplő összes játék és sporteszköz független laboratórium által hitelesített.